Lundi au jeudi : 14h à 18h / 19h à 22h30
Vendredi : 14h à 18h / 19h à 21h30
COMPOSANTS DE L’EMBRAYAGE
1. Réservoir de liquide de freins / embrayage
2. Flexible de connexion
3. Boulon - 2
4. Maître-cylindre
5. Pédale d’embrayage
6. Carter de boîte de vitesses
7. Arbre primaire
8. Boulon - 2
9. Cylindre récepteur
10. Vis de purge
11. Plateau de pression
12. Disque d’embrayage
13. Volant à masses doubles
14. Tuyau hydraulique métallique
15. Embout à rotule
16. Manchon de butée de débrayage
17. Boulon - 2
18. Rondelle de pivot
19. Levier de débrayage
20. Butée de débrayage
21. Attache de retenue
22. Boulon
23. Tuyau hydraulique en plastique
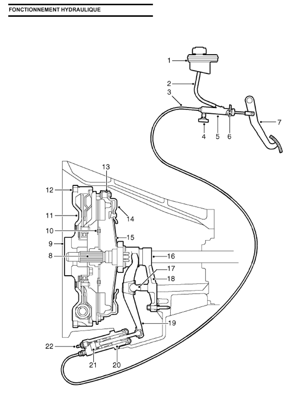
FONCTIONNEMENT HYDRAULIQUE
1. Réservoir de liquide de freins / embrayage
2. Tuyau d’arrivée de liquide
3. Tuyau d’alimentation hydraulique
4. Amortisseur
5. Maître-cylindre
6. Piston
7. Pédale d’embrayage
8. Arbre primaire
9. Vilebrequin du moteur
10. Disque d’embrayage
11. Volant à masses doubles
12. Couronne
13. Ressort à lames
14. Couvercle - plateau de pression
15. Diaphragme
16. Butée de débrayage
17. Embout à rotule
18. Manchon de butée de débrayage
19. Levier de débrayage
20. Cylindre récepteur
21. Piston
22. Vis de purge
DESCRIPTION
Généralités
Il s’agit d’un embrayage à diaphragme, commandé par un cylindre hydraulique. Le disque d’embrayage est du type à centre
rigide, sans ressorts d’amortissement. Le volant est du type à double masse, à ressorts d’amortissement intégrés.
L’embrayage n’exige aucun réglage pour rattraper l’usure du disque.
Embrayage hydraulique
L’embrayage hydraulique comprend un maître-cylindre, un cylindre récepteur et un réservoir hydraulique. Le maître-cylindre et
le cylindre récepteur sont reliés par des tuyaux métalliques et en plastique. La section en plastique du tuyau facilite
l’acheminement du tuyau et absorbe les déplacements et vibrations du moteur.
Le maître-cylindre comporte un corps alésé. Deux orifices du corps relient l’alésage au tuyau hydraulique vers le cylindre
récepteur et au réservoir de liquide. L’alésage est également relié à un amortisseur évitant le transfert hydraulique des
impulsions du moteur dans la pédale d’embrayage. L’alésage contient un piston et une tige extérieure reliée à la pédale
d’embrayage par un axe. Les ressorts hélicoïdaux de la pédale d’embrayage réduisent l’effort requis sur celle-ci.
Le maître-cylindre est attaché sur le tablier par deux boulons. Le cylindre est relié au réservoir combiné de freins et
d’embrayage sur la servocommande de frein, par un flexible recouvert d’une tresse.
Le cylindre récepteur est attaché par deux boulons, à gauche du carter de la boîte de vitesses. Le bas du cylindre récepteur
est protégé de la chaleur d’échappement par un bouclier thermique. Le cylindre récepteur comprend un cylindre ainsi qu’un
piston et un poussoir. Le tuyau d’alimentation hydraulique du maître-cylindre est branché sur l’orifice du corps du cylindre. Le
second orifice comporte une vis permettant de purger l’air du circuit hydraulique après l’entretien. La tige de piston est
engagée sur le levier de débrayage du carter de la boîte de vitesses. La tige est maintenue sur le levier de débrayage par une
attache.
Mécanisme d’embrayage
Le mécanisme d’embrayage comprend le volant, le disque, le plateau de pression, le levier de débrayage et la butée de
débrayage. Le mécanisme d’embrayage, à l’extrémité arrière du moteur, est complètement enveloppé par le carter de la boîte
de vitesses.
Le manchon de la butée de débrayage, engagé sur deux goujons de centrage, est maintenu sur le carter de la boîte de
vitesses par deux boulons. Le manchon de la butée de débrayage comporte un embout à rotule permettant la fixation et le
pivotement du levier de débrayage. Une rondelle bombée de pivotement est montée sur la partie sphérique de l’embout.
Lorsque le levier de débrayage se trouve sur la rotule, la rondelle de pivotement s’appuie sur la face arrière du levier de
débrayage. L’attache élastique sur le levier et la rondelle de pivotement maintient le levier sur l’embout. L’attache élastique est
maintenue en place par un petit boulon.
La fourche à l’extrémité intérieure du levier de débrayage s’engage sur le support de la butée de débrayage. Le siège en nylon
à l’extrémité extérieure du levier de débrayage s’engage sur la tige du piston du cylindre récepteur. Un second siège en nylon,
au centre du levier de débrayage, est monté sur l’embout à rotule du manchon de débrayage pour que le levier de débrayage
puisse pivoter librement sur la rotule.
La butée de débrayage est engagée sur le levier et le manchon de débrayage. Le roulement est maintenu sur un support,
deux méplats empêchant la rotation de ce dernier sur le levier de débrayage. Une attache maintient le levier de débrayage sur
le support. Le roulement et le support ne sont pas fournis séparément.
Volant à masses doubles

1. Goujon de centrage du plateau de pression
2. Trous de détection de position du vilebrequin
3. Goujon de centrage du plateau de pression
4. Trous de détection de position du vilebrequin
5. Goujon de centrage du plateau de pression
6. Trous de détection de position du vilebrequin
7. Goujon de centrage du plateau de pression
8. Trous de détection de position du vilebrequin
9. Goujon de centrage du plateau de pression
10. Trous de détection de position du vilebrequin
11. Goujon de centrage du plateau de pression
12. Trous de détection de position du vilebrequin
13. Goujon de centrage du plateau de pression
Le volant à double masse est attaché par huit boulons, sur l’arrière du vilebrequin. Un goujon de centrage assure le
positionnement correct du volant sur le flasque du vilebrequin. Le pourtour du volant comporte une couronne. La couronne ne
peut pas être réparée. Trente trous borgnes sont percés sur le pourtour du volant, à côté de la couronne. Les trous sont placés
à des intervalles de 10° avec quatre espaces de 20°. Les trous sont utilisés par le capteur de position du vilebrequin pour la
gestion moteur.
Le volant à double masse permet d’isoler la boîte de vitesses des vibrations torsionnelles et transitoires produites par le
moteur. Le volant est constitué d’un volant primaire et d’un volant secondaire reliés par un amortisseur de torsion à quatre
ressorts hélicoïdaux. Les ressorts sont montés sur le pourtour interne du volant primaire. Deux des ressorts sont plus petits et
logés à l’intérieur des deux autres.
Le volant primaire est engagé sur la couronne et il est maintenu par huit boulons sur le flasque du vilebrequin. Les deux paires
de ressorts hélicoïdaux sont installées dans un logement du volant, entre les deux retenues rivetées. Le roulement à rouleaux
pressé sur le bossage central du volant primaire est maintenu par une plaque à rivets. Le roulement reçoit le volant
secondaire.
Le volant secondaire est en deux parties ; un volant extérieur, sur lequel s’appuie la garniture du disque d’embrayage, et un
plateau intérieur assurant le transfert d’énergie entre le volant primaire et le volant extérieur, par l’intermédiaire des ressorts
hélicoïdaux. Les deux parties du volant secondaire sont maintenues l’une sur l’autre par des rivets. Le disque interne est situé
entre deux paires de ressorts hélicoïdaux et peut tourner sur le roulement à billes, dans un sens ou dans l’autre, contre l’effort
combiné des quatre ressorts. Lorsque le couple est élevé, le volant secondaire peut pivoter par rapport au volant primaire, d’un
maximum de 70° dans l’un ou l’autre sens.
La face du volant secondaire est usinée pour que le disque puisse s’appuyer sur une surface lisse. Le plateau de pression est
positionné et maintenu par trois goujons de centrage et six goujons avec écrous.
Plateau de pression

1. Ressort à lames
2. Disque d’embrayage
3. Plateau de pression
4. Couvercle
5. Diaphragme
6. Rivet
L’ensemble du plateau de pression, qui comprend un plateau, un couvercle et un diaphragme, est monté sur le volant à double
masse et tourne avec celui-ci.
Le plateau de pression forgé en fonte est usiné pour que le disque puisse s’appuyer sur une surface lisse. Trois oreilles sur le
pourtour du plateau de pression le relient au couvercle par l’intermédiaire de trois ressorts à lames. Les ressorts sont du type à
trois lames d’acier trempées et éloignent le plateau du disque lorsqu’on appuie sur la pédale d’embrayage.
Le couvercle en acier embouti enveloppe tous les composants du plateau de pression. Des rivets à épaulement maintiennent
le diaphragme à l’intérieur du couvercle. Les têtes des rivets sont chanfreinées pour permettre le pivotement du diaphragme
lorsqu’il est soumis à la pression de la butée de débrayage. Trois trous du couvercle s’engagent sur les goujons de centrage
du volant et les six autres trous sont utilisés pour maintenir le couvercle sur le volant. Les grands trous du couvercle assurent
la ventilation des surfaces de contact entre le disque, le plateau de pression et le volant.
Le diaphragme comprend un anneau en fonte portant dix-huit doigts. Le diaphragme est maintenu sur le couvercle par neuf
rivets à épaulement. La tête intérieure de chaque rivet est chanfreinée pour permettre le pivotement du diaphragme au cours
de l’embrayage ou du débrayage. Lorsque la butée de débrayage s’appuie sur les doigts du diaphragme, celui-ci pivote sur les
rivets et s’éloigne du plateau de pression en relâchant la pression sur le disque qui glisse entre le plateau et le volant.
Disque d’embrayage

1. Garniture de friction
2. Plaque intérieure
3. Moyeu
4. Disque en acier à ressort
Le disque est du type à centre rigide et il est serré entre le plateau de pression et le volant. Le disque d’embrayage comporte
un moyeu cannelé glissant sur les cannelures de l’arbre primaire de la boîte de vitesses. Le moyeu est attaché sur un disque
interne pressé sur le moyeu. Le disque en acier à ressort, maintenu sur le disque intérieur par huit rivets, reçoit les garnitures
de friction du disque. Le disque en acier à ressort permet une légère élasticité axiale contribuant au fonctionnement doux de
l’embrayage. Les garnitures de friction sont constituées de deux disques de 267 mm (10,5 in) maintenus par des rivets de part
et d’autre du disque en acier à ressort. Les rivets sont posés dans les trous chambrés du disque et ressortent dans les trous
chambrés de l’autre côté.
------------------------------------------------------------------------------------------------------------------------------------------------------------
FONCTIONNEMENT
Fonctionnement hydraulique
Lorsqu’on appuie sur la pédale d’embrayage, le piston est poussé dans le maître-cylindre. Le déplacement du piston comprime
le liquide du maître-cylindre et force le liquide sous pression dans le tuyau vers le cylindre récepteur. La pression hydraulique
est ressentie par le piston du cylindre récepteur qui se déplace pour pousser la tige et le levier de débrayage.
Lorsque la pédale d’embrayage est relâchée, l’effort des doigts du diaphragme sur le levier de débrayage déplace ce dernier
et repousse le piston dans le cylindre récepteur. Le liquide hydraulique refoulé remonte dans le tuyau d’alimentation et
retourne dans le maître-cylindre.
Fonctionnement du mécanisme
Lorsque la pédale d’embrayage est comprimée, la pression hydraulique déplace le piston et le poussoir du cylindre récepteur.
La prolonge du piston pousse la tige contre l’extrémité extérieure du levier de débrayage, qui pivote autour de l’embout à
rotule.
L’extrémité interne du levier de débrayage pivote vers le moteur et exerce une pression sur la butée de débrayage. La butée
de débrayage glisse le long du manchon de débrayage et s’appuie sur les doigts du diaphragme. Le diaphragme pivote autour
des rivets chanfreinés du couvercle. Lorsque le diaphragme fléchit, sa pression ne s’exerce plus sur le plateau de pression. Le
plateau de pression est éloigné du disque d’embrayage par les trois ressorts à lames.
Lorsque l’effort du plateau de pression ne s’exerce plus sur le disque, la friction entre le volant à masse double, le disque et le
plateau est réduite. Le disque d’embrayage glisse entre le volant et le plateau de pression et n’entraîne pas l’arbre primaire.
Lorsque la pédale d’embrayage est relâchée, la pression hydraulique ne s’exerce plus sur le piston du cylindre récepteur. Les
doigts du diaphragme peuvent alors pousser la butée de débrayage le long du manchon. Le déplacement de la butée de
débrayage provoque la rotation du levier de débrayage sur l’embout à rotule et repousse le piston et le poussoir dans le
cylindre récepteur.
Lorsque la butée de débrayage ne s’appuie plus sur le diaphragme, ce dernier pivote autour des rivets chanfreinés du
couvercle. L’effort du diaphragme sur le plateau de pression neutralise l’effort des ressorts à lames et le plateau de pression
se déplace vers le disque d’embrayage et le volant.
Le plateau de pression s’appuie sur le disque et le pousse contre le volant. Lorsque la pédale d’embrayage est relâchée
progressivement, le frottement entre le disque, le volant et le plateau augmente. L’accroissement de friction fait tourner le
disque avec le volant et le plateau de pression et entraîne l’arbre primaire. Lorsque la pédale d’embrayage est complètement
relâchée, la pression exercée par le diaphragme sur le plateau de pression force le disque d’embrayage contre le volant, sans
aucun glissement.